cmos在電路中容易形成集成化 它是有什么特點 是否會受到影響
信息來源:本站 日期:2017-09-05
容易集成化
TTL等雙極器件中,如圖10. 15所示,相鄰的晶體管之間需求隔離,而且要提高電流驅動型器件的集成度,就很難抑止功率耗費和發熱現象。

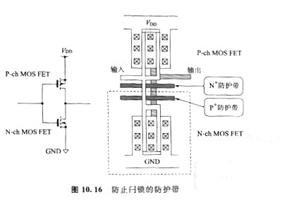
CMOS中,由于閂鎖現象/可控硅現象的緣由,需求思索設置恰當的別離寄生雙極晶體管的稱為防護帶(圖10. 16)的別離墻/過渡電流吸收帶。不過對集成度的影響不大。最近,還開發出不需求防護帶的制造技術。而且,由于CMOS的低功耗特性,在發熱問題上比雙極器件優越,也有利于集成化。
把單位面積(mm2)上集成的晶體管數目叫做集成度。目前集成度超越了1000萬個MOS晶體管的系統LSI曾經在數字設備中采用。
聯系方式:鄒先生
聯系電話:0755-83888366-8022
手機:18123972950
QQ:2880195519
聯系地址:深圳市福田區車公廟天安數碼城天吉大廈CD座5C1
關注KIA半導體工程專輯請搜微信號:“KIA半導體”或點擊本文下方圖片掃一掃進入官方微信“關注”
長按二維碼識別關注