一文詳解MOS管示意圖,構造知識要點-KIA MOS管
信息來源:本站 日期:2020-11-10
下圖MOS管工作原理示意圖為N溝道增強型MOS管工作原理示意圖,其電路符號如圖所示。它是用一塊摻雜濃度較低的P型硅片作為襯底,利用擴散工藝在襯底上擴散兩個高摻雜濃度的N型區(用N+表示),并在此N型區上引出兩個歐姆接觸電極,分別稱為源極(用S表示)和漏極(用D表示)。
在源區、漏區之間的襯底表面覆蓋一層二氧化硅(SiO2)絕緣層,在此絕緣層上沉積出金屬鋁層并引出電極作為柵極(用G表示)。從襯底引出一個歐姆接觸電極稱為襯底電極(用B表示)。由于柵極與其它電極之間是相互絕緣的,所以稱它為絕緣柵型場效應管。MOS管工作原理示意圖中的L為溝道長度,W為溝道寬度。
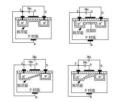
MOS管示意圖,構造解析:上圖所示的MOSFET,當柵極G和源極S之間不加任何電壓,即 UGS=0 時,由于漏極和源極兩個N+型區之間隔有P型襯底,相當于兩個背靠背連接的PN結,它們之間的電阻高達1012W的數量級,也就是說D、S之間不具備導電的溝道,所以無論漏、源極之間加何種極性的電壓,都不會產生漏極電流ID。
當將襯底B與源極S短接,在柵極G和源極S之間加正電壓,即UGS﹥0時,MOS管工作原理示意圖(a)所示,則在柵極與襯底之間產生一個由柵極指向襯底的電場。在這個電場的作用下,P襯底表面附近的空穴受到排斥將向下方運動,電子受電場的吸引向襯底表面運動,與襯底表面的空穴復合,形成了一層耗盡層。
如果進一步提高UGS電壓,使UGS達到某一電壓UT時,P襯底表面層中空穴全部被排斥和耗盡,而自由電子大量地被吸引到表面層,由量變到質變,使表面層變成了自由電子為多子的N型層,稱為“反型層”,MOS管工作原理示意圖(b)所示。
反型層將漏極D和源極S兩個N+型區相連通,構成了漏、源極之間的N型導電溝道。把開始形成導電溝道所需的UGS值稱為閾值電壓或開啟電壓,用UT表示。顯然,只有UGS﹥UT時才有溝道,而且UGS越大,溝道越厚,溝道的導通電阻越小,導電能力越強。這就是為什么把它稱為增強型的緣故。
在UGS﹥UT的條件下,如果在漏極D和源極S之間加上正電壓UDS,導電溝道就會有電流流通。漏極電流由漏區流向源區,因為溝道有一定的電阻,所以沿著溝道產生電壓降,使溝道各點的電位沿溝道由漏區到源區逐漸減小,靠近漏區一端的電壓UGD最小,其值為UGD=UGS-UDS,相應的溝道最薄;靠近源區一端的電壓最大,等于UGS,相應的溝道最厚。
這樣就使得溝道厚度不再是均勻的,整個溝道呈傾斜狀。隨著UDS的增大,靠近漏區一端的溝道越來越薄。
當UDS增大到某一臨界值,使UGD≤UT時,漏端的溝道消失,只剩下耗盡層,把這種情況稱為溝道“預夾斷”,MOS管工作原理示意圖(a)所示。繼續增大UDS(即UDS>UGS-UT),夾斷點向源極方向移動,MOS管工作原理示意圖(b)所示。
盡管夾斷點在移動,但溝道區(源極S到夾斷點)的電壓降保持不變,仍等于UGS-UT。因此,UDS多余部分電壓[UDS-(UGS-UT)]全部降到夾斷區上,在夾斷區內形成較強的電場。這時電子沿溝道從源極流向夾斷區,當電子到達夾斷區邊緣時,受夾斷區強電場的作用,會很快的漂移到漏極。
耗盡型。耗盡型是指,當VGS=0時即形成溝道,加上正確的VGS時,能使多數載流子流出溝道,因而“耗盡”了載流子,使管子轉向截止。耗盡型MOS場效應管,是在制造過程中,預先在SiO2絕緣層中摻入大量的正離子,因此,在UGS=0時,這些正離子產生的電場也能在P型襯底中“感應”出足夠的電子,形成N型導電溝道。
MOS管學名是場效應管,是金屬-氧化物-半導體型場效應管,屬于絕緣柵型。其結構示意圖:
溝道上面圖中,下邊的p型中間一個窄長條就是溝道,使得左右兩塊P型極連在一起,因此mos管導通后是電阻特性,因此它的一個重要參數就是導通電阻,選用mos管必須清楚這個參數是否符合需求。
n型上圖表示的是p型mos管,讀者可以依據此圖理解n型的,都是反過來即可。因此,不難理解,n型的如圖在柵極加正壓會導致導通,而p型的相反。
增強型相對于耗盡型,增強型是通過“加厚”導電溝道的厚度來導通,如圖。柵極電壓越低,則p型源、漏極的正離子就越靠近中間,n襯底的負離子就越遠離柵極,柵極電壓達到一個值,叫閥值或坎壓時,由p型游離出來的正離子連在一起,形成通道,就是圖示效果。
因此,容易理解,柵極電壓必須低到一定程度才能導通,電壓越低,通道越厚,導通電阻越小。由于電場的強度與距離平方成正比,因此,電場強到一定程度之后,電壓下降引起的溝道加厚就不明顯了,也是因為n型負離子的“退讓”是越來越難的。耗盡型的是事先做出一個導通層,用柵極來加厚或者減薄來控制源漏的導通。
左右對稱圖示左右是對稱的,難免會有人問怎么區分源極和漏極呢?其實原理上,源極和漏極確實是對稱的,是不區分的。但在實際應用中,廠家一般在源極和漏極之間連接一個二極管,起保護作用,正是這個二極管決定了源極和漏極,這樣,封裝也就固定了,便于實用。
金屬氧化物膜圖中有指示,這個膜是絕緣的,用來電氣隔離,使得柵極只能形成電場,不能通過直流電,因此是用電壓控制的。在直流電氣上,柵極和源漏極是斷路。不難理解,這個膜越薄:電場作用越好、坎壓越小、相同柵極電壓時導通能力越強。壞處是:越容易擊穿、工藝制作難度越大而價格越貴。
與實物的區別上圖僅僅是原理性的,實際的元件增加了源-漏之間跨接的保護二極管,從而區分了源極和漏極。實際的元件,p型的,襯底是接正電源的,使得柵極預先成為相對負電壓,因此p型的管子,柵極不用加負電壓了,接地就能保證導通。相當于預先形成了不能導通的溝道,嚴格講應該是耗盡型了。好處是明顯的,應用時拋開了負電壓。
寄生電容上圖的柵極通過金屬氧化物與襯底形成一個電容,越是高品質的mos,膜越薄,寄生電容越大,經常mos管的寄生電容達到nF級。這個參數是mos管選擇時至關重要的參數之一,必須考慮清楚。
Mos管用于控制大電流通斷,經常被要求數十K乃至數M的開關頻率,在這種用途中,柵極信號具有交流特征,頻率越高,交流成分越大,寄生電容就能通過交流電流的形式通過電流,形成柵極電流。消耗的電能、產生的熱量不可忽視,甚至成為主要問題。為了追求高速,需要強大的柵極驅動,也是這個道理。
試想,弱驅動信號瞬間變為高電平,但是為了“灌滿”寄生電容需要時間,就會產生上升沿變緩,對開關頻率形成重大威脅直至不能工作。
如何工作在放大區Mos管也能工作在放大區,而且很常見。做鏡像電流源、運放、反饋控制等,都是利用mos管工作在放大區,由于mos管的特性,當溝道處于似通非通時,柵極電壓直接影響溝道的導電能力,呈現一定的線性關系。
由于柵極與源漏隔離,因此其輸入阻抗可視為無窮大,當然,隨頻率增加阻抗就越來越小,一定頻率時,就變得不可忽視。這個高阻抗特點被廣泛用于運放,運放分析的虛連、虛斷兩個重要原則就是基于這個特點。這是三極管不可比擬的。
發熱原因Mos管發熱,主要原因之一是寄生電容在頻繁開啟關閉時,顯現交流特性而具有阻抗,形成電流。有電流就有發熱,并非電場型的就沒有電流。
另一個原因是當柵極電壓爬升緩慢時,導通狀態要“路過”一個由關閉到導通的臨界點,這時,導通電阻很大,發熱比較厲害。第三個原因是導通后,溝道有電阻,過主電流,形成發熱。
主要考慮的發熱是第1和第3點。許多mos管具有結溫過高保護,所謂結溫就是金屬氧化膜下面的溝道區域溫度,一般是150攝氏度。超過此溫度,mos管不可能導通。溫度下降就恢復。要注意這種保護狀態的后果。
聯系方式:鄒先生
聯系電話:0755-83888366-8022
手機:18123972950
QQ:2880195519
聯系地址:深圳市福田區車公廟天安數碼城天吉大廈CD座5C1
請搜微信公眾號:“KIA半導體”或掃一掃下圖“關注”官方微信公眾號
請“關注”官方微信公眾號:提供 MOS管 技術幫助

